下面我将为你提供一个完整、详细的换热器课程设计指南,从设计任务、流程、核心计算到报告撰写和答辩要点,希望能助你顺利完成设计。
第一部分:设计任务书(通常由老师给定)
一份典型的换热器课程设计任务书会包含以下信息:

- 设计题目:某厂冷却水循环系统中苯-甲苯混合物冷却器的工艺设计”。
- 设计条件:
- 热流体:名称(如苯-甲苯混合物)、流量、进口温度、出口温度、操作压力、主要物理性质(如密度、粘度、比热容、导热系数)。
- 冷流体:名称(如循环冷却水)、流量、进口温度、出口温度、操作压力、主要物理性质。
- 可选条件:允许压降、污垢热阻、材质要求等。
- 与要求:
- 确定合适的换热器类型。
- 完成详细的工艺计算(传热量、平均温差、传热系数、传热面积等)。
- 进行换热器的结构设计(管子尺寸、管数、管长、管程数、壳体直径等)。
- 进行校核计算(压降、壁温、总传热系数等)。
- 绘制换热器装配图(A1或A0)。
- 编写设计说明书。
第二部分:设计流程与步骤
可以按照以下七个步骤进行,这是一个逻辑清晰、层层递进的过程。
方案确定
这是设计的起点,决定了整个设计的方向。
-
换热器类型选择:
- 列管式换热器(管壳式换热器):最常用,技术成熟,适用范围广(高温高压、大流量),是课程设计的首选。
- 板式换热器:传热效率高,结构紧凑,但耐压耐温性较差,适用于小流量、压降要求严格的场合。
- 套管式换热器:结构简单,适合高压、小流量、传热面不大的场合。
- 翅片管式换热器:用于一侧气体一侧液体的换热,强化气体侧传热。
- 对于绝大多数课程设计,首选列管式换热器。
-
流动空间安排(哪种流体走管程,哪种走壳程?)

- 宜走管程(管内)的流体:
- 不清洁或易结垢的流体(便于清洗)。
- 腐蚀性强的流体(可用耐腐蚀材料管子)。
- 压力高的流体(管子承压能力强)。
- 流量小、粘度大的流体(可提高流速,增强传热)。
- 温度高的高温流体(减少热损失)。
- 宜走壳程(管间)的流体:
- 被冷却的流体(有利于散热)。
- 饱和蒸汽(便于冷凝,排出冷凝液)。
- 流量大的流体(流道截面积大)。
- 与管程流体温差大的流体(减少温差应力)。
- 宜走管程(管内)的流体:
-
流速选择:
- 原则:流速高,传热系数大,所需传热面积小,设备投资低,但流速高,压降大,动力消耗高,操作费高,且流速过高会引起冲刷腐蚀。
- 参考:查阅《化工原理》教材或设计手册中推荐的流速范围,水在管内的流速通常为0.5-3.0 m/s。
工艺计算
这是设计的核心,涉及大量公式计算。
-
物料衡算:
对于无相变过程,通常直接使用给定的流量,对于有相变(如冷凝、蒸发),需要通过热量衡算求出流量。

-
热量衡算(计算传热量 Q):
- 基本公式:
Q = Wc * Cpc * (tc2 - tc1) = Wh * Cph * (th1 - th2) Q:传热速率,WW:流体质量流量,kg/sCp:流体平均比热容,J/(kg·K)t:流体温度,°C- 下标:
c-冷流体,h-热流体,1-进口,2-出口。 - 任务:用冷流体和热流体两个公式分别计算
Q,取平均值或检查数据是否合理。
- 基本公式:
-
计算平均传热温差 Δtm:
- 并流/逆流:
Δtm = [(Δt1 - Δt2) / ln(Δt1 / Δt2)](对数平均温差) - 折流/错流:先按逆流计算
Δtm',再乘以温差校正系数 φ,即Δtm = φ * Δtm'。 - φ的查取:根据
R和P两个参数,查《化工原理》教材或手册中的图。R = (th1 - th2) / (tc2 - tc1)(热流体温降 / 冷流体温升)P = (tc2 - tc1) / (th1 - tc1)(冷流体温升 / 两流体最初温差)
- 注意: 应大于 0.8,否则经济性差,需考虑多壳程或调整流动方式。
- 并流/逆流:
-
估算总传热系数 K:
- 公式:
1/K = 1/ho + Rso + (δ/λ) * (do/dm) + Rsi * (do/di) + (do/di) * (1/hi) ho,hi:管外、管内对流传热系数,W/(m²·K)Rso,Rsi:管外、管内污垢热阻,m²·K/W (查手册)- , :管壁厚度、导热系数
di,do,dm:管内径、外径、平均直径- 估算方法:在初步设计阶段,
hi和ho未知,通常根据同类经验,直接估算一个总传热系数 K,水-水换热器 K ≈ 800-1500 W/(m²·K);油-水换热器 K ≈ 300-500 W/(m²·K),这个估算值用于初步计算面积。
- 公式:
-
估算传热面积 A:
- 公式:
A = Q / (K * Δtm) - 根据计算出的
A,可以初选换热器型号(如《换热器样本》),确定管径、管长、管数等。
- 公式:
换热器结构设计
根据估算的传热面积,进行具体的结构计算。
-
管径和管内流速:根据步骤一选定的流速和流量,计算管径。
di = sqrt(4 * Ws / (π * u * ρ))- 根据计算值和标准,选择合适的管径(如 Φ25×2.5 mm)。
-
管数 N:
- 单管程:
N = 4 * Ws / (π * di² * u * ρ) - 多管程:
N = N_单程 * 管程数,管程数通常取 1, 2, 4, 6。
- 单管程:
-
管长 L 和传热面积 A:
- 根据管数
N和标准管长(如 1.5m, 2.0m, 3.0m, 6.0m),计算实际传热面积A_实。 A_实 = π * do * L * N- 要求
A_实 / A_估 > 1.1~1.2,留有设计余量。
- 根据管数
-
管板和壳体直径 D:
- 管板布置:查管板布置图,确定管间距
t(通常为 1.25~1.5 倍管外径)。 - 壳体内径:
D = t * (N_c - 1) + 2 * b'N_c:沿管束中心线上的管子数。b':最外层管子中心到壳体内壁的距离,通常取(1~1.5) * do。
- 根据计算结果,圆整到标准壳体直径。
- 管板布置:查管板布置图,确定管间距
校核计算
结构设计完成后,必须进行校核,确保设计满足要求。
-
管内传热系数 hi 计算:
- 计算雷诺数
Re = di * u * ρ / μ,判断流型(层流/过渡流/湍流)。 - 选择合适的关联式(如迪图斯-贝尔特公式
Nu = 0.023 * Re^0.8 * Pr^n)计算Nu。 hi = Nu * λ / di
- 计算雷诺数
-
管外传热系数 ho 计算:
- 方法:根据挡板形式(通常为弓形挡板)计算壳程流速和雷诺数。
- 使用关联式(如克恩法)计算
ho,这部分计算相对复杂,需仔细查阅公式和参数。
-
计算总传热系数 K:
- 使用步骤二中完整的公式,代入计算出的
hi和ho,得到实际的总传热系数 K_实。 - 比较
K_实和K_估,若相差不大(如±15%以内),则合格,若相差过大,需返回调整流速或结构。
- 使用步骤二中完整的公式,代入计算出的
-
压降校核:
- 管程压降 ΔPi:包括直管阻力、回弯阻力、进出口阻力。
- 壳程压降 ΔPo:包括弓形挡板缺口处的阻力、横向流过管束的阻力、壳程进出口阻力。
- 总压降 ΔP = ΔPi + ΔPo`
- 检查总压降是否小于任务书允许的压降,若超出,需调整流速、管程数或折流板间距。
主要附件选型
- 封头:根据压力和直径选标准型(如椭圆形封头)。
- 拉杆、定距管:固定管束,保证折流板间距。
- 接管:根据流量和流速计算进出口管径。
- 折流板:确定间距(通常为壳体内径的 0.2~1.0 倍)和切口高度。
- 分程隔板:用于多管程换热器。
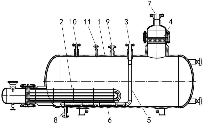
图纸绘制
使用 AutoCAD 或其他软件绘制。
- 主视图:表达换热器的总体结构、管程、壳程、主要接管和附件。
- 侧视图/剖视图:表达内部管束排列、折流板、分程隔板等细节。
- 技术特性表:列出设计压力、设计温度、物料名称、换热面积等关键参数。
- 管口表:列出各接管的公称直径、标准、用途。
- 技术要求:焊接要求、检验要求、安装要求等。
设计说明书撰写
将以上所有计算过程、选型依据、结果整理成文,这是设计成果的最终体现。
第三部分:设计报告(说明书)模板
封面:设计题目、班级、姓名、学号、指导教师、日期。 简述设计任务、主要过程、最终结果(如选用的换热器型号、主要尺寸、传热面积、压降等)。
目录
第一章 设计方案简介 1.1 设计任务与条件 1.2 换热器类型选择 1.3 流体流动空间选择 1.4 设计方案确定
第二章 工艺计算 2.1 物料衡算 2.2 热量衡算与传热量计算 2.3 平均传热温差计算 2.4 估算总传热系数和传热面积
第三章 换热器结构设计与计算 3.1 管径与管内流速 3.2 管数与管长 3.3 壳体直径计算 3.4 其他附件选型
第四章 校核计算 4.1 管程传热系数与压降计算 4.2 壳程传热系数与压降计算 4.3 总传热系数计算 4.4 校核结果汇总与分析
第五章 主要结果与设备选型 5.1 换热器主要结构尺寸汇总表 5.2 主要设备材料选择 5.3 附属设备选型
设计评述与心得体会:总结设计中的难点、自己的收获、不足与改进方向。
参考文献:列出所有查阅的书籍、手册、标准等。
附录:重要的原始数据、详细的计算过程、手算草稿等。
第四部分:常见问题与答辩要点
常见问题:
- 为什么选择这个流速? (回答:参考手册推荐范围,权衡传热效果与压降)
- 污垢热阻怎么选的? (回答:根据流体性质,查《化工原理》或《换热器设计手册》中的推荐值)
- 温差校正系数 φ 为什么小于0.8? (回答:可能是因为流动方式选择不当或温度条件限制,需要说明如何调整)
- 你的压降为什么这么大/小? (回答:分析流速、管程数、结构等因素对压降的影响)
- 管长和管程数是如何确定的? (回答:根据传热面积估算,并结合标准管长和压降要求进行优化)
答辩准备:
- 吃透自己的设计:对每一个参数的选择、每一步计算都要了如指掌。
- 理解基本原理:不仅仅是套公式,要理解公式背后的物理意义(如 Re, Pr, Nu 的含义)。
- 准备简洁的PPT:突出设计思路、关键数据和最终成果。
- 预演:自己或同学互相提问,模拟答辩场景。
祝你设计顺利,取得优异成绩!如果在具体计算中遇到问题,可以随时提出。