《旋转型灌装机》课程设计
摘要
本课程设计旨在完成一套适用于中小型企业,灌装粘度适中、不含气体的液体(如饮料、果汁、洗涤剂等)的旋转型灌装机的设计,设计内容包括总体方案的确定、主要执行机构(灌装系统、传动系统、供瓶/供盖系统、控制系统)的设计与计算,关键零部件的强度校核,以及三维建模与二维工程图的绘制,通过本次设计,旨在综合运用所学的机械原理、机械设计、机械制造技术、控制工程等专业知识,培养独立分析和解决工程实际问题的能力。
第一章 绪论
1 设计背景与意义
随着现代工业的飞速发展和人民生活水平的提高,对商品包装的要求越来越高,灌装机作为包装机械中的核心设备,其性能直接影响着产品的质量、生产效率和成本,旋转型灌装机因其结构紧凑、生产效率高、自动化程度高、占地面积小等优点,在食品、饮料、日化、医药等行业得到了广泛应用。

本次课程设计以旋转型灌装机为对象,旨在通过对其设计过程的全流程模拟,将理论知识与工程实践紧密结合,这不仅是对大学四年所学知识的一次全面检验和综合运用,更是培养工程思维、创新能力和团队协作精神的重要实践环节。
2 设计任务与要求
2.1 设计任务 设计一台用于灌装不含气液体的旋转型灌装机,完成从空瓶输入、灌装、封盖到成品输出的全过程自动化。
2.2 主要技术参数
- 灌装物料: 不含气液体(如矿泉水、果汁等)
- 物料粘度: 低至中等粘度(< 500 cP)
- 灌装容量: 500 mL
- 灌装精度: ±1%
- 生产能力: 6000 瓶/小时
- 瓶型规格: 高径比约为 2:1 的标准圆柱形塑料瓶
- 动力源: 三相异步电动机,功率 1.5 kW,转速 1440 r/min
2.3 设计要求

- 确定灌装机的总体方案,绘制工作循环图。
- 完成灌装系统的设计,选择合适的灌装方法并进行相关计算。
- 完成传动系统的设计,包括电机选型、减速装置设计、分配轴设计等。
- 完成供瓶、供盖及输送系统的方案设计。
- 完成关键执行机构(如灌装阀、升降机构)的设计与计算。
- 对主要传动零件(如齿轮、轴、轴承)进行强度校核。
- 使用 SolidWorks 或类似软件进行关键部件的三维建模和整机装配。
- 绘制标准的二维工程图(总装图、部件装配图、零件图)。
- 撰写设计说明书,内容完整、条理清晰、计算准确、图纸规范。
第二章 总体方案设计
1 灌装方法的选择
根据物料的性质(不含气、低粘度)和灌装精度的要求,可供选择的灌装方法主要有:
- 常压灌装: 依靠液体自身的重力流入容器中,结构简单,适用范围广,但对不含气液体有很好的效果。
- 等压灌装: 先向储液缸和瓶内充入等压气体,再利用压差进行灌装,主要用于含气饮料(如啤酒、可乐)。
- 负压灌装: 在瓶内或储液缸内形成负压,利用压差进行灌装,可减少液体与空气的接触,卫生性好,适用于不含气液体。
方案确定: 考虑到物料是不含气的低粘度液体,且要求结构简单、成本较低,选择常压灌装法最为合适,其工作原理为:瓶子上升顶开灌装阀,液体在重力作用下流入瓶中,达到预定液位后,瓶子下降,灌装阀关闭。
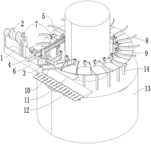
2 机型选择:旋转型灌装机
与直线型灌装机相比,旋转型灌装机将各工位(供瓶、灌装、封盖、出瓶等)沿圆周方向布置在一个转盘上,其优点是:
- 高效率: 各工位同时工作,生产节拍快。
- 结构紧凑: 占地面积小。
- 运行平稳: 动平衡性好。
方案确定: 选择旋转型灌装机。
3 工作循环图与工位数确定
3.1 生产能力与转盘转速计算
- 生产能力 Q = 6000 瓶/小时 = 100 瓶/分钟
- 设转盘每转一周灌装一瓶,则转盘转速 n = Q = 100 r/min
3.2 工位数确定 旋转型灌装机通常分为以下基本工位:
- 进瓶工位: 将空瓶送入转盘。
- 升瓶工位: 将瓶子顶起,准备灌装。
- 灌装工位: 进行液体灌装。
- 降瓶工位: 灌装完成,瓶子下降。
- 出瓶工位: 将灌装好的瓶子送出转盘。
- 封盖工位: 在灌装后或出瓶前进行旋盖或压盖。
为了使机器运行平稳,各工位之间需要一定的过渡和缓冲,通常设置 8个或12个工位,我们选择 8个工位,每个工位中心角为 360°/8 = 45°。
3.3 工作循环图 工作循环图表示各执行机构在一个工作循环(转盘转360°)中的动作顺序。
| 转盘角度 (°) | 0-45 | 45-90 | 90-135 | 135-180 | 180-225 | 225-270 | 270-315 | 315-360 |
|---|---|---|---|---|---|---|---|---|
| 转盘 | 匀速转动 | 匀速转动 | 匀速转动 | 匀速转动 | 匀速转动 | 匀速转动 | 匀速转动 | 匀速转动 |
| 升降瓶机构 | 升瓶 | 保持高位 | 降瓶 | - | - | - | - | - |
| 灌装阀 | 开启 | 保持开启 | 关闭 | - | - | - | - | - |
| 供盖机构 | - | - | - | - | - | - | 供盖 | - |
| 旋盖机构 | - | - | - | - | - | 旋盖 | - | - |
说明:
- 升瓶/灌装工位 (90°-135°): 瓶子在升瓶凸轮作用下被顶起,灌装阀打开,开始灌装。
- 降瓶/关阀工位 (135°-180°): 瓶子被降瓶凸轮压下,灌装阀在弹簧或凸轮作用下关闭,停止灌装。
- 供盖工位 (270°-315°): 振动盘或理盖器将瓶盖送入盖道。
- 旋盖工位 (225°-270°): 旋头下降并旋转,完成封盖。
第三章 主要机构设计与计算
1 传动系统设计
1.1 电机选型
- 已知:P_电机 = 1.5 kW, n_电机 = 1440 r/min
- 转盘所需转速 n_转盘 = 100 r/min
- 总传动比 i_总 = n_电机 / n_转盘 = 1440 / 100 = 14.4
1.2 传动方案 采用两级减速:
- 第一级: V带传动,实现较大减速比,缓冲吸振。
取传动比 i_带 = 3
- 第二级: 一级斜齿轮减速器,实现精确、平稳的传动。
需要的传动比 i_齿 = i_总 / i_带 = 14.4 / 3 = 4.8
1.3 分配轴设计 分配轴是旋转型灌装机的核心,它控制着各个凸轮机构,从而实现灌装、升降、封盖等动作。
- 转速: 分配轴的转速与转盘同步,n_分 = 100 r/min。
- 结构: 分配轴上安装有控制升降瓶凸轮、灌装阀凸轮、旋盖凸轮等的凸轮组。
- 设计要点: 各凸轮的轮廓曲线需要根据从动件(升降杆、阀杆等)的运动规律(如等速、等加速-等减速)进行设计,以保证动作平稳、无冲击。
2 灌装系统设计
2.1 灌装阀设计 采用单阀座、短管、弹簧式常压灌装阀。
- 工作原理: 瓶子通过升降机构顶起时,瓶口阀垫与阀座密封,同时阀杆克服弹簧力向上运动,打开液体通道,液体流入瓶中,当瓶子下降时,弹簧推动阀杆下移,关闭通道。
- 关键参数计算:
- 灌装时间 t_灌装: 假设灌装过程发生在升瓶后的45°转角内。 t_灌装 = (45° / 360°) T = (1/8) (60s / 100r/min) = 0.075 s = 75 ms (注:此时间过短,实际设计中灌装时间应更长,通常需要180°-270°的转角,此处为简化计算,需重新调整工位或速度,假设灌装时间为 180°,则 t_灌装 = 0.3 s。)
- 灌装流量 Q_v: Q_v = 灌装量 / t_灌装 = 500 mL / 0.3 s ≈ 1667 mL/s = 1.667 × 10⁻³ m³/s
- 灌装管内径 d: 假设液体流速 v = 1 m/s (经济流速) Q_v = A v = (πd²/4) v d = √(4Q_v / (πv)) = √(4 1.667e-3 / (π 1)) ≈ 0.046 m = 46 mm (可选标准管径,如 DN40)
3 供瓶与供盖系统
- 供瓶系统: 采用星形拨轮将来自输送带的瓶子准确、等间距地送入转盘的定位夹具中,拨轮的节距与转盘上瓶子的中心距一致。
- 供盖系统: 采用振动盘和直线送料器,振动盘将杂乱的瓶盖整理排列,然后通过直线送料器将其送入转盘上方的盖道中,等待旋盖工位抓取。
4 封盖系统设计
- 封盖方式: 采用旋盖式。
- 执行机构: 由旋盖头、升降机构和旋转机构组成。
- 升降机构: 由凸轮控制,使旋盖头在到达瓶口上方时下降,套住瓶盖,并在灌装完成后上升。
- 旋转机构: 通常由一个小型电机或通过齿轮组带动旋盖头旋转,其转速和扭矩需根据瓶盖的螺纹参数确定,以确保旋紧力矩合适,不损坏瓶盖或瓶口。
第四章 关键零部件设计与校核
1 齿轮设计(以第二级减速齿轮为例)
已知条件:
- 传递功率 P = 1.5 kW
- 小齿轮转速 n₁ = 1440 / 3 = 480 r/min
- 传动比 u = 4.8
- 使用寿命 10年,每年工作300天,每天16小时。
- 材料选择:小齿轮 40Cr 调质,齿面硬度 280 HBS;大齿轮 45钢 调质,齿面硬度 240 HBS。
设计步骤(简述):
- 按齿面接触疲劳强度设计:
- 计算小齿轮分度圆直径 d₁。
- 确定载荷系数 K。
- 计算区域系数 Z_H、弹性影响系数 Z_E、重合度系数 Z_ε。
- 计算许用接触应力 [σ_H]。
- 代入公式:d₁ ≥ √[ (2KT₁/u+1) * (Z_H Z_E Z_ε / [σ_H])² ]
- 按齿根弯曲疲劳强度校核:
- 计算齿形系数 Y_Fa 和应力修正系数 Y_Sa。
- 计算许用弯曲应力 [σ_F]。
- 校核公式:σ_F = (2KT₁/Y_Fa Y_Sa Y_ε) * (Y_β/bm₁) ≤ [σ_F]
- 几何尺寸计算: 确定模数 m、齿数 z₁, z₂、中心距 a 等。
- 最终确定参数: 综合考虑接触强度和弯曲强度,并圆整为标准模数(如 m=2mm)。
2 轴的设计与校核
以分配轴为例:
- 初步设计: 根据结构要求和安装在其上的零件(凸轮、齿轮等)的尺寸,估算轴径 d。
- 受力分析: 分析轴上受到的径向力(来自凸轮推力、齿轮啮合力)和扭矩 T。
- 扭矩 T = 9550 P / n = 9550 1.5 / 100 = 143.25 N·m
- 弯扭合成强度校核:
- 画出轴的受力简图和弯矩图、扭矩图。
- 计算危险截面的当量弯矩 M_e = √(M² + (αT)²),α 为扭矩校正系数。
- 校核公式:σ_ca = M_e / W ≤ [σ-1]
- W 为抗弯截面系数,对于圆轴 W ≈ 0.1d³。
- [σ-1] 为对称循环许用应力,根据轴的材料确定。
3 轴承选择与寿命校核
根据轴的受力、转速和工作条件,选择合适的轴承类型(如深沟球轴承或角接触球轴承)。
- 计算轴承的径向载荷 F_r 和轴向载荷 F_a。
- 计算当量动载荷 P = X F_r + Y F_a。
- 计算轴承寿命 L_h:
- L_h = (10⁶ / 60n) * (C / P)ᵉ
- C 为基本额定动载荷,e 为寿命指数(球轴承 e=3)。
- 校核: 计算出的 L_h 应大于预期寿命(如 10年 300天 16小时 = 48000小时)。
第五章 三维建模与工程图
1 三维建模
使用 SolidWorks 软件,按照设计结果进行建模。
- 零件建模: 创建所有非标准零件的三维模型,如灌装阀体、凸轮、升降杆、旋盖头等,标准件(如螺栓、轴承、电机)可从标准件库中调用。
- 部件装配: 将零件组装成部件,如灌装头组件、旋盖头组件、传动箱组件。
- 整机装配: 将所有部件和标准件装配成完整的灌装机总成,进行运动仿真,检查各部件之间是否存在干涉。
2 二维工程图绘制
使用 SolidWorks 的工程图模块,将三维模型转化为符合国家标准的二维图纸。
- 总装图: 表达机器的整体结构、工作原理、主要性能参数、外形尺寸、部件间的连接关系和装配技术要求。
- 部件装配图: 表达部件内部各零件的装配关系、工作原理、主要配合尺寸和技术要求。
- 零件图: 表达每个非标准零件的详细结构、尺寸、公差、表面粗糙度、材料及热处理要求等。
第六章 经济性与技术分析
1 技术分析
本设计采用成熟的常压灌装技术和旋转型布局,具有以下优点:
- 自动化程度高: 实现了供瓶、灌装、封盖全流程自动化。
- 生产效率高: 设计生产能力达到 6000 瓶/小时,满足中小型企业的需求。
- 结构紧凑: 旋转型设计节省了占地面积。
- 灌装精度高: 精心设计的灌装阀和凸轮机构保证了 ±1% 的灌装精度。
2 经济性分析
- 成本估算: 主要成本包括材料费(机架、不锈钢料斗等)、标准件费(电机、减速机、轴承、气缸等)、加工费和外购件费。
- 效益分析: 该设备能大幅提高生产效率,降低人工成本,保证产品质量,具有良好的投资回报前景。
第七章 结论与展望
1 结论
本课程设计成功地完成了一套旋转型灌装机的方案设计和关键部件计算,设计结果满足了预定的技术指标和要求,结构合理,工作可靠,通过本次设计,系统性地复习和巩固了机械设计的专业知识,提升了分析问题和解决工程问题的能力。
2 不足与展望
- 不足之处: 设计过程中对某些动态特性(如振动、噪声)的考虑不够深入;控制系统部分仅做了方案构想,未进行详细电路和PLC编程设计。
- 展望: 未来可进一步对设备进行优化,如采用伺服电机驱动实现更精确的定位控制,增加在线检测与剔除功能,或针对不同粘度的物料开发可更换的灌装阀模块,以提高设备的通用性和智能化水平。
参考文献
[1] 成大先. 机械设计手册(第六版)[M]. 北京: 化学工业出版社, 2025. [2] 濮良贵, 纪名刚. 机械设计(第十版)[M]. 北京: 高等教育出版社, 2025. [3] 无锡轻工业学院, 天津轻工业学院. 食品机械与设备[M]. 北京: 中国轻工业出版社, 1989. [4] 高乃光. 自动灌装设备设计原理[M]. 北京: 机械工业出版社, 2005. [5] SolidWorks 公司. SolidWorks 机械设计教程[M]. 北京: 机械工业出版社, 2025.
致谢
(在此处感谢指导老师的悉心指导、同学们的帮助以及提供相关资料的单位或个人。)